oi AD640: 120 MHz, 50 dB Demodulating Logarithmic Amplifier, 5962-9095501M2A, 5962-9095501MRA, AD640BD, AD640BE, AD640BP, AD640BPZ, AD640JN, AD640JNZ, AD640JP, AD640JP-REEL7, AD640JPZ, AD640JPZ-REEL7, AD640TD/883B, AD640TE/883B
首页 > ADI 模拟器件公司 > 放大器 > 对数放大器和检测器

AD640:  120 MHz, 50 dB Demodulating Logarithmic Amplifier

The AD640 is a complete monolithic logarithmic amplifier. A single AD640 provides up to 50 dB of dynamic range for frequencies from dc to 120 MHz. Two AD640s in cascade can provide up to 95 dB of dynamic range at reduced bandwidth. The AD640 uses a successive detection scheme to provide an output current proportional to the logarithm of the input voltage. It is laser calibrated to close tolerances and maintains high accuracy over the full military temperature range using supply voltages from ±4.5 V to ±7.5 V.

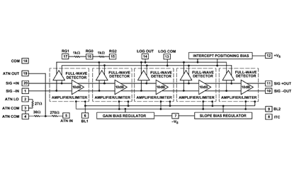
The AD640 comprises five cascaded dc coupled amplifier/limiter stages, each having a small signal voltage gain of 10 dB and a -3 dB bandwidth of 350 MHz. Each stage has an associated full-wave detector, whose output current depends on the absolute value of its input voltage. The five outputs are summed to provide the video output (when low-pass filtered) scaled at 1 mA per decade (50 µA per dB). On chip resistors can be used to convert this output current to a voltage with several convenient slope options. A balanced signal output at +50 dB (referred to input) is provided to operate AD640s in cascade.

The logarithmic response is absolutely calibrated to within ±l dB for dc or square wave inputs from ±0.75 mV to ±200 mV,with an intercept (logarithmic offset) at 1 mV dc. An integral X10 attenuator provides an alternative input range of ±7.5 mV to ±2 V dc. Scaling is also guaranteed for sinusoidal inputs.

The AD640B is specified for the industrial temperature range of -40°C to +85°C and the AD640T, available processed to MIL-STD- 883B, for the military range of -55°C to +125°C. Both are available in 20-pin side brazed ceramic DIPs or leadless chip carriers (LCC). The AD640J is specified for the commercial temperature range of 0°C to +70°C, and is available in both 20-pin plastic DIP (N) and PLCC (P) packages.

This device is now available to Standard Military Drawing (DESC) number 5962-9095501MRA and 5962-9095501M2A.

An evaluation board is available for this product and may be ordered using the following product number: AD640-EB.

产品应用领域 Applications
AD640 特点
AD640 功能框图

Functional Block Diagram for AD640 AD640 技术指标
Dynamic Range (dB) 50dB Limiter Output Yes
Phase Accuracy (deg) n/a AC Linearity (± dB) 3dB
Response Time (ns typ) 10ns Power Consumption (mW) 200mW
Voltage Supply (V) +/- 4.5 to +/- 7.5 Package 20-Lead DIP,20-Lead LCC,20-Lead PLCC
Supply Current 44mA Temp Stability (dB) ±1dB
AD640 芯片订购指南
产品型号 产品状态 封装 引脚 温度范围
5962-9095501M2A 量产 20 ld LCC 20 军用
5962-9095501MRA 量产 20 ld Side-Brazed CerDIP 20 军用
AD640BD 量产 20 ld Side-Brazed CerDIP 20 工业
AD640BE 量产 20 ld LCC 20 工业
AD640BP 量产 20 ld LCC 20 工业
AD640BPZ 量产 20 ld LCC 20 工业
AD640JN 量产 20 ld LCC 20 商业
AD640JNZ 量产 PLASTIC DIP 20 商业
AD640JP 量产 20 ld LCC 20 商业
AD640JP-REEL7 量产 20 ld LCC 20 商业
AD640JPZ 量产 20 ld LCC 20 商业
AD640JPZ-REEL7 量产 20 ld LCC 20 商业
AD640TD/883B 量产 20 ld Side-Brazed CerDIP 20 军用
AD640TE/883B 量产 20 ld LCC 20 军用

AD640 应用技术支持与电子电路设计开发资源下载
  1. 对数放大器和检测器系列AD640 数据手册DataSheet 下载 . PDF
  2. ADI 模拟器件公司比较器产品选型指南 . PDF
  3. Analog Devices, Inc. 美国模拟器件公司产品订购手册 .PDF