首页 > ADI 模拟器件公司 > 音频和视频产品 > 音频编解码器

AD1845: Parallel-Port 16-Bit SoundPort Stereo Codec

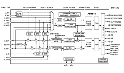
The Parallel Port AD1845 SoundPort(R) Stereo Codec integrates key audio data conversion and control functions into a single integrated circuit. The AD1845 provides a complete, single chip computer audio solution for business audio and multimedia applications. It includes stereo audio converters, complete on-chip filtering, MPC Level-2 compliant analog mixing, programmable gain, attenuation and mute, a variable sample frequency generator, FIFOs, and supports advanced power-down modes. It provides a direct, byte-wide interface to both ISA ("AT") and EISA computer buses for simplified implementation on a computer motherboard or add-in card.

The AD1845 supports a DMA request/ grant architecture for transferring data with the host computer bus. One or two DMA channels can be supported. Programmed I/O (PIO) mode is also supported for control register accesses and for applications lacking DMA control. Two input control lines support mixed direct and indirect addressing of thirty-seven internal control registers over this asynchronous interface. The AD1845 includes dual DMA count registers for full duplex operation enabling it to capture data on one DMA channel and play back data on a separate channel. The FIFOs on the AD1845 reduce the risk of losing data when making DMA transfers over the ISA/EISA bus. The FIFOs buffer data transfers and allow for relaxed timing in acknowledging requests for capture and playback data

External circuit requirements are limited to a minimal number of low cost support components. Anti-imaging DAC output filters are incorporated on-chip. Dynamic range exceeds 80 dB over the 20 kHz audio band. Sample rates from 4 kHz to 50 kHz are supported from a single external crystal or clock source.

The AD1845 has built-in 8/16 mA (user selectable) bus drivers. If 24 mA drive capability is required, the AD1845 generates enable and direction controls for IC bus buffers such as the 74 245.

The codec includes a stereo pair of Sigma Delta analog-to-digital converters and a stereo pair of Sigma Delta digital-to-analog converters. The mixer surpasses MPC Level-2 recommendations. Inputs to the ADC can be selected from four stereo pairs of analog signals: line (LINE), microphone (MIC), auxiliary line #1 (AUX1), and post-mixed DAC output. A software-controlled programmable gain stage allows independent gain for each channel going into the ADC. In addition, the analog mixer allows the mono input (M_IN), MIC, AUX1, LINE and auxiliary line #2 (AUX2) signals to be mixed with the DACs' output. The ADCs' output can be digitally mixed with the DACs' input.

The pair of 16-bit outputs from the ADCs is available over a byte-wide bidirectional interface that also supports 16-bit digital input to the DACs and control information. The AD1845 can accept and generate 16-bit twos complement PCM linear digital data, 8-bit unsigned magnitude PCM linear data, and 8-bit u-law or A-law companded digital data.

The Sigma Delta DACs are preceded by a digital interpolation filter. An attenuator provides independent user volume control over each DAC channel. Nyquist images and shaped quantized noise are removed from the DACs analog stereo output by on-chip switched-capacitor and continuous-time filters.

The AD1845 supports multiple low power and power-down modes to support notebook and portable computing multimedia applications. The ADC, DAC, and mixer paths can be suspended independently allowing the AD1845 to be used for capture-only or playback-only, lessening power consumption and extending battery life.

AD1845 特点
AD1845 功能框图

AD1845 应用技术支持与电子电路设计开发资源下载
  1. AD1845 数据手册DataSheet 下载 . PDF
  2. ADI 模拟器件公司比较器产品选型指南 . PDF
  3. Analog Devices, Inc. 美国模拟器件公司产品订购手册 .PDF