首页 > ADI 模拟器件公司 > RF和IF器件 > 数字上变频器和下变频器

AD6634: 80 MSPS、双通道、WCDMA接收信号处理器(RSP)

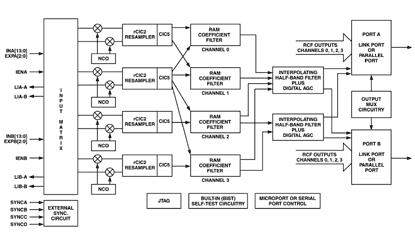
AD6634 功能框图AD6634是一款双通道数字接收信号处理器(RSP),内置四个级联信号处理元件:一个频率转换器、两个固定系数抽取滤波器以及一个可编程系数抽取滤波器。通过一个16位并行输出端口,可以处理WBCDMA等应用中的高数据速率输出。AD6634属于ADI公司SoftCellTM多载波收发器芯片组的一部分,该芯片组专为与ADI公司高采样速率中频采样ADC(12位AD6640/14位AD6644)兼容而设计。SoftCellTM 接收机包含一个数字接收机,能够将整个载波频谱数字化,并且能通过数字方式选择目标载波进行调谐,以及实现通道选择。这一架构可以省去无线基站应用中的冗余无线电元件。高动态范围抽取滤波器可以提供一个较宽的抽取率范围。基于RAM的架构很容易针对多模式应用进行重新配置。

特点
  • 80 MSPS宽带输入(14位线性加上3位RSSI)
  • 一个封装中集成两个WCDMA数字接收机
  • 16位并行输出
  • 用于RAKE接收机的数字AGC输出位
  • 针对非整数抽取率的数字再采样
  • 可编程抽取FIR滤波器
  • 针对多载波和相控阵实现灵活控制
  • 可编程衰减器控制通过电平指示器防止限幅,并调整外部增益范围
  • 输入/输出电压:3.3 V,CMOS内核电压:2.5 V
  • 用户可配置的内置自测试(BIST)功能
  • JTAG边界扫描
  • 156引脚BGA封装
技术指标
  • Digital TX/RX: RX
  • Input Sampling (MSPS): 80MSPS
  • Resampler: X
  • Digital AGC: X
  • Baseband Interface: Parallel
  • Input Ports: 2
  • Ouput Ports: 2
  • Package: BGA
订购指南
产品型号 封装 引脚 温度范围 包装和数量 报价*(100-499) 报价*1000 pcs RoHS
AD6634BBC 产品状态: 量产 196 ball CSPBGA (1.70mm thick) 196 工业 Tray, 126 $ 46.67 $ 39.55 N
AD6634BBCZ 产品状态: 量产 196 ball CSPBGA (1.70mm thick) 196 工业 Tray, 126 $ 42.30 $ 35.96 Y
应用技术支持与电子电路设计开发资源下载
  1. AD6634 数据手册DataSheet 下载 . PDF
  2. ADI 模拟器件公司比较器产品选型指南 . PDF
  3. Analog Devices, Inc. 美国模拟器件公司产品订购手册 .PDF