首页 > ADI 模拟器件公司 > 时钟和定时IC > 时钟分配

AD9520-5: 12 LVPECL/24 CMOS输出时钟发生器,集成2.8 GHz VCO

AD9520-51可提供多路输出的时钟分配功能,具有亚皮秒抖动性能,并且片上集成PLL和VCO。VCO的调谐范围为 2.53 GHz~2.95 GHz,也可以使用高达2.4 GHz的外部3.3 V/5 V VCO/VCXO。

AD9520的串行接口支持SPI与I^2C(R)端口。片上EEPROM可通过串行接口进行编程,并能存储用于上电与芯片复位的用户定义的寄存器设置。

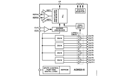
AD9520具有12个LVPECL输出,分成4组。任意一个1.6 GHz LVPECL输出都可被配置为两个250 MHz CMOS输出。

每组输出端都包含分频器,可设置1~32的分频比和相位(粗延迟)。

AD9520采用64引脚LFCSP封装,3.3 V单电源供电。采用外接VCO时,工作电压范围可扩展至5.5 V。独立的输出驱动器的电源电压为2.375 V~3.465 V。

AD9520可在-40°C~+85°C的工业温度范围工作。

1 在数据手册中,AD9520通常用来指代AD9520系列的所有成员。如果使用AD9520-5,则指AD9520系列中的某个特定型号。

产品应用领域 Applications
AD9520-5 特点
AD9520-5 功能框图

AD9520-5 芯片订购指南
产品型号 产品状态 封装 引脚 温度范围
AD9520-5/PCBZ 量产 评估板 64 商业
AD9520-5BCPZ 量产 64 工业
AD9520-5BCPZ-REEL7 量产 64 工业
AD9520-5 应用技术支持与电子电路设计开发资源下载
  1. AD9520-5 数据手册DataSheet 下载 . PDF
  2. ADI 模拟器件公司比较器产品选型指南 . PDF
  3. Analog Devices, Inc. 美国模拟器件公司产品订购手册 .PDF
  4. 时钟和定时IC产品介绍 . PDF