首页 > ADI 模拟器件公司 > 时钟和定时IC > PLL频率合成器和VCO

ADF4154: Fractional-N Frequency Synthesizer

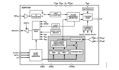
The ADF4154 is a fractional-N frequency synthesizer that implements local oscillators in the up conversion and down conversion sections of wireless receivers and transmitters. It consists of a low noise digital phase frequency detector (PFD), a precision charge pump, and a programmable reference divider. There is a Σ-Δ based fractional interpolator to allow programmable fractional-N division. The INT, FRAC, and MOD registers define an overall N divider (N = (INT + (FRAC/MOD))). In addition, the 4-bit reference counter (R counter) allows selectable REFIN frequencies at the PFD input. A complete phase-locked loop (PLL) can be implemented if the synthesizer is used with an external loop filter and a voltage controlled oscillator (VCO).

A key feature of the ADF4154 is the fast-lock mode with a builtin timer. The user can program a predetermined count-down time value so that the PLL will remain in wide bandwidth mode, instead of having to control this time externally.

Control of all on-chip registers is via a simple 3-wire interface. The device operates with a power supply ranging from 2.7 V to 3.3 V, and can be powered down when not in use.

ADF4154 特点
ADF4154 功能框图

ADF4154 芯片订购指南
产品型号 产品状态 封装 引脚 温度范围
ADF4154BCP 量产 20 ld LFCSP (4x4mm) 20 工业
ADF4154BCP-REEL 量产 20 ld LFCSP (4x4mm) 20 工业
ADF4154BCP-REEL7 量产 20 ld LFCSP (4x4mm) 20 工业
ADF4154BCPZ 量产 20 ld LFCSP (4x4mm) 20 工业
ADF4154BCPZ-RL 量产 20 ld LFCSP (4x4mm) 20 工业
ADF4154BCPZ-RL7 量产 20 ld LFCSP (4x4mm) 20 工业
ADF4154BRU 量产 16 ld TSSOP 16 工业
ADF4154BRU-REEL 量产 16 ld TSSOP 16 工业
ADF4154BRU-REEL7 量产 16 ld TSSOP 16 工业
ADF4154BRUZ 量产 16 ld TSSOP 16 工业
ADF4154BRUZ-RL 量产 16 ld TSSOP 16 工业
ADF4154BRUZ-RL7 量产 16 ld TSSOP 16 工业
EVAL-ADF4154EBZ1 量产 评估板 - 待定
ADF4154 应用技术支持与电子电路设计开发资源下载
  1. ADF4154 数据手册DataSheet 下载 . PDF
  2. ADI 模拟器件公司比较器产品选型指南 . PDF
  3. Analog Devices, Inc. 美国模拟器件公司产品订购手册 .PDF
  4. 时钟和定时IC产品介绍 . PDF