ADF4251: Lowest Phase Noise PLL Synthesizer using Fractional-N Technology
Rochester Electronics is the only authorized source of Analog Devices' products that have previously been discontinued or have become obsolete. Product availability should be checked directly with Rochester Electronics.
ADF4251 特点
- Sigma-delta based fractional-N technology ensures superior Phase Noise and spurious performance is maintained over temperature
- Hardware and Software Power-Down
- Flexibility of programmable fractional-modulus ensures exact output frequencies can be synthesized.
- 0.1 - 3.0GHz Fractional-N / 0.05 - 1.2GHz Integer-N PLL's
- 3 wire Serial Interface with 1.8V logic compatibility
- 250MHz REFIN Frequency
- 8 x Programmable charge pump currents
- PFD frequencies up to 30MHz allow faster settling and lower phase noise.
- Supported on ADIsimPLL software design tool
- Available in 4x4mm Chipscale package
- 2.7 - 3.3V Power Supply with separate VP to 5V
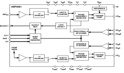
ADF4251 功能框图

ADF4251 应用技术支持与电子电路设计开发资源下载
- ADF4251 数据手册DataSheet 下载 . PDF
- ADI 模拟器件公司比较器产品选型指南 . PDF
- Analog Devices, Inc. 美国模拟器件公司产品订购手册 .PDF
- 时钟和定时IC产品介绍 . PDF