首页 > ADI 模拟器件公司 > 开关和多路复用器 > 多路复用器

ADG729: CMOS, Low Voltage, 2 Wire, Serially Controlled Dual 4 to 1 Matrix Switch

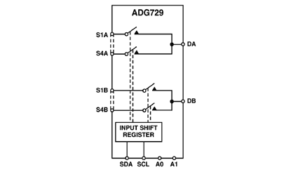
The ADG729 is a CMOS analog matrix switch with a serially controlled 2-wire interface. It is a dual 4-channel matrix switch. On resistance is closely matched between switches and very flat over the full signal range. This part can operate equally well as a multiplexer, demultiplexer or switch array and the input signal range extends to the supplies.

Each channel is controlled by one bit of the data byte. This means that these multiplexers can be used in a number of different configurations, all, any or none of the channels may be on at any one time. On power up of the device, all switches will be in the OFF condition and the internal shift register will contain all zeros. All channels exhibit break before make switching action preventing momentary shorting when switching channels.

ADG729 特点
ADG729 功能框图

ADG729 芯片订购指南
产品型号 产品状态 封装 引脚 温度范围
ADG729BRU 量产 16 ld TSSOP 16 工业
ADG729BRU-REEL 量产 16 ld TSSOP 16 工业
ADG729BRU-REEL7 量产 16 ld TSSOP 16 工业
ADG729BRUZ 量产 16 ld TSSOP 16 工业
ADG729BRUZ-REEL7 量产 16 ld TSSOP 16 工业
ADG729 应用技术支持与电子电路设计开发资源下载
  1. ADG729 数据手册DataSheet 下载 . PDF
  2. ADI 模拟器件公司比较器产品选型指南 . PDF
  3. Analog Devices, Inc. 美国模拟器件公司产品订购手册 .PDF