ADIS16209: 高精度、双轴数字倾角计和加速度计
ADIS16209是一款高精度数字倾角计,支持单轴(±180°)和双轴(±90°)工作。标准的3.3 V电源电压和SPI串行接口可以实现与大多数工业系统设计的简单集成。其简单的内部寄存器结构可以处理所有输出数据和配置特性,包括存取下列输出数据:校准加速度、精确倾斜角度、电源、内部温度、辅助模拟和数字输入信号、诊断误差标志,和可编程报警条件。
可配置的工作参数包括:采样速率、电源管理、数字滤波、辅助模拟和数字输出、失调/零点调节,和传感器机械结构的自检。
ADIS16209采用9.2 mm × 9.2 mm × 3.9 mm LGA封装,工作温度范围为-40°C~+125°C,可使用符合RoHS标准的回流焊接工艺。
产品应用领域 Applications
- 平台控制、稳定和校正
- 倾斜检测、倾角计、水平测量
- 运动/位置测量
- 监视器/报警设备(保安、医疗、安全)
- 导航
ADIS16209 特点
- 双模式倾角计系统
- 双轴水平工作,±90°
- 单轴垂直工作, ±180°
- 高精度, 0.1°
- 14-bit数字倾角数据,0.025°分辨率
- 14-bit数字加速度数据,0.244mg分辨率
- ±1.7 g 加速度计测量范围
- 12-bit数字温度传感器输出
- 数字控制偏置校准
- 数字控制采样速率
- 数字控制频率响应
- 速率/阈值极限的双报警设置
- 辅助数字I/O
- 数字化自检
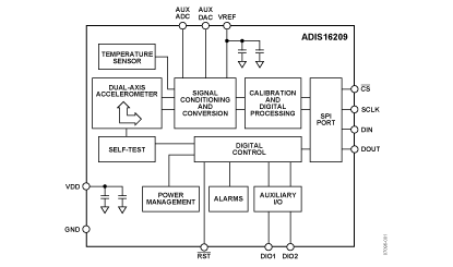
ADIS16209 功能框图

ADIS16209 芯片订购指南
| 产品型号 |
产品状态 |
封装 |
引脚 |
温度范围 |
| ADIS16209/PCBZ |
量产 |
评估板 |
- |
待定 |
| ADIS16209CCCZ |
量产 |
LGA/CASON/CH ARRY SO NO LD |
16 |
工业 |
ADIS16209 应用技术支持与电子电路设计开发资源下载
- ADIS16209 数据手册DataSheet 下载 . PDF
- ADI 模拟器件公司比较器产品选型指南 . PDF
- Analog Devices, Inc. 美国模拟器件公司产品订购手册 .PDF